指挥中心

一、车主管理

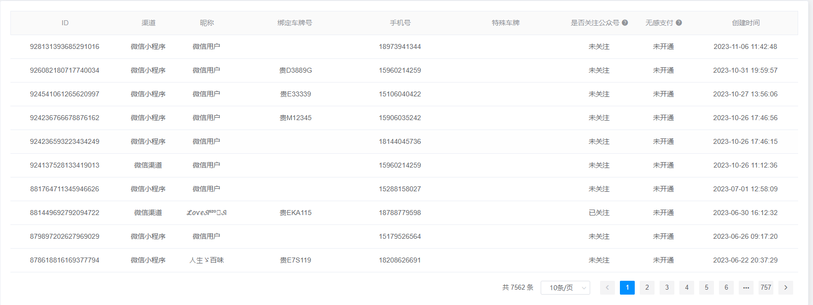
可以在车主管理上查询、筛选到所有录过信息车主信息详情。

1.查询内容:

昵称/手机号/车牌号:通过搜索用户昵称/手机号/车牌号查找车主信息;

创建日期:可通过选择车主用户创建的开始日期和结束日期进行车主用户信息查找;

渠道:可分为微信渠道、支付宝渠道、微信小程序,可通过选择其中任一渠道进行车主用户信息筛查;

车牌号:可选择车牌号为空或不为空进行车主用户信息筛查;

手机号:可选择手机号为空或不为空进行车主用户信息筛查;

关注公众号:可选择用户是否关注公众号进行车主用户信息筛查;

无感支付:可选择车主是否开通贵州银行无感支付进行车主用户信息筛查。

2.查询结果:该查询结果由车主用户ID、渠道、昵称、绑定车牌号、手机号、特殊车牌、是否关注公众号、无感支付、创建时间组成。通过查询条件进行筛查人员考勤信息。