指挥中心

十、考勤统计

可以在考勤统计上查询、筛选到所有收费员考勤统计详情。

1.查询内容:

姓名/用户名:通过搜索姓名/用户名查找收费员考勤信息;

路段名称:可通过选择路段进行收费员考勤信息筛查;

统计时间:可通过选择统计时间段进行收费员考勤信息筛查。

2.该查询结果由序号、收费员姓名、用户名、类型、路段、实际出勤天数、正常、迟到、早退、矿工、缺卡、统计时间、考勤明细组成。通过查询条件进行筛查收费员考勤明细信息查找。

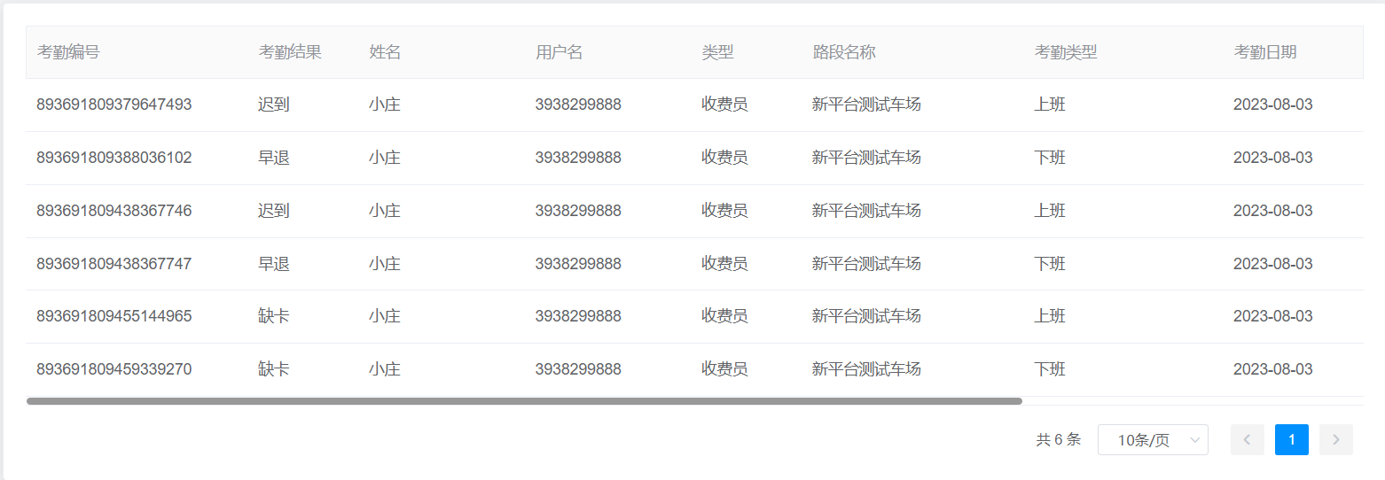
3.考勤明细

点击查询结果右侧的“查看”按钮可以查看该收费员的考勤明细。

考勤类型:可分为上班、下班,可通过上选择其中任一状态进行该收费考勤明细筛选;

考勤结果:可分为正常、迟到、早退、缺卡,可通过上选择其中任一状态进行该收费考勤明细筛选。

导出:可通过点击考勤明细页面的查询内容左下方的“导出”按钮来下载当前查找条件下该收费员的所有考勤明细表格。

查询结果:该查询结果由考勤编号、考勤结果、姓名、用户名、类型、路段名称、考勤类型、考勤日期、考勤时间、实际打卡时间组成。通过查询条件进行筛查该收费员考勤明细信息查找。

4.导出:可通过点击查询内容左下方的“导出”按钮来下载当前查找条件下的所有收费员考勤明细信息表。