指挥中心

三、月卡车牌

可以在月卡车牌上查询、筛选、编辑、删除到所有办理月卡的车牌信息历史详情。

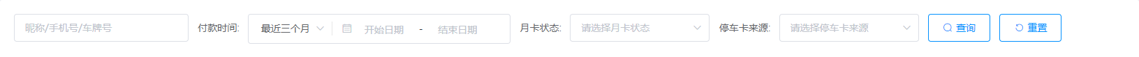
1.查询内容:

昵称/手机号/车牌号:通过搜索用户昵称/手机号/车牌号查找月卡车牌信息;

付款时间:通过选择付款时间筛选月卡车牌信息;

月卡状态:可分为已生效、生效中、待生效,可通过选择其中任一状态进行月卡车牌信息筛查;

停车卡来源:通过选择线上月卡或线下月卡筛选月卡车牌信息。

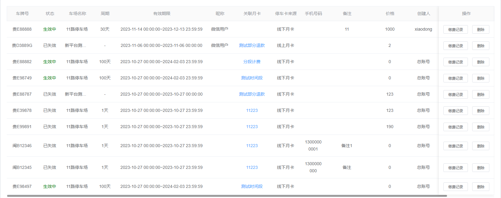
2.查询结果:该查询结果由车牌号、状态、车场名称、周期、有效期限、昵称、关联月卡、停车卡来源、手机号码、备注、价格、创建人、操作组成。通过查询条件进行筛查月卡车牌信息查找。

3.批量导入/导出月卡车牌:可通过点击查找内容左下方的“导入”按钮来上传excel文件批量新增免费车牌,点击查找内容左下方的“导出”按钮来下载当前查找条件下的所有月卡车牌信息。

4.新增车牌:通过点击查找内容左下方的“新增”按钮来填写新增月卡信息进行新增月卡。

5.操作:缴费记录、删除

点击查询结果右侧的缴费记录进行查询月租车牌的缴费记录。

点击查询结果右侧的“删除”按钮进行确认是否执行单条月卡车牌信息的删除操作。