指挥中心

八、逃单统计

可以在逃单统计上查询、筛选到从车主维度和停车场维度统计的逃单信息统计详情。

车主维度

1.查询内容:

车牌号:通过搜索逃单车主车牌号查找逃单订单信息;

手机号码:通过搜索逃单车主手机号码查找逃单订单信息;

逃单金额:可分为不限制、大于300元、大于500元、大于1000元,可通过选择其中任一状态进行逃单信息筛查;

停放时间:可通过选择停放时间段进行逃单订单筛查。

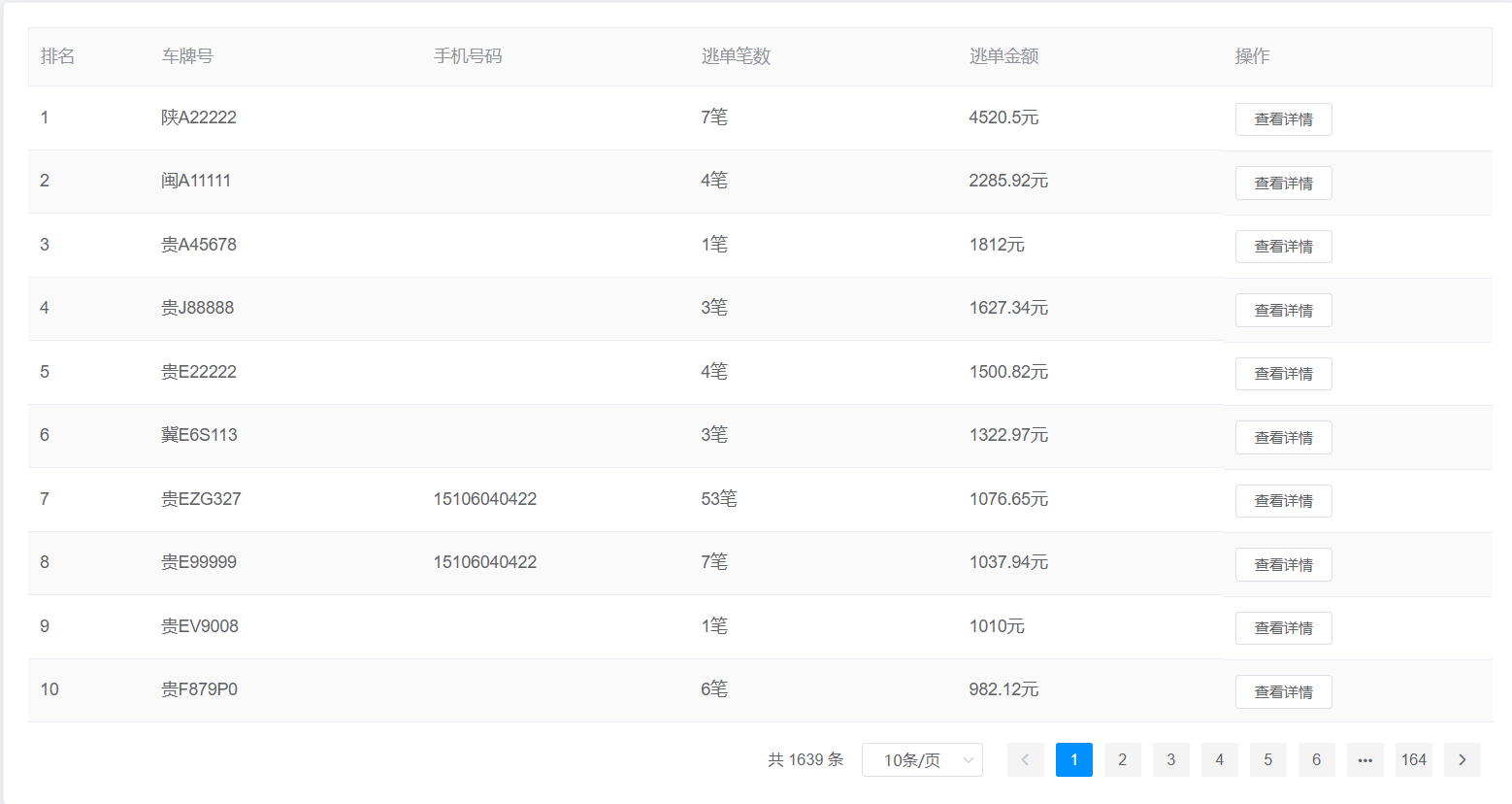
2.查询结果:该查询结果由排名、车牌号、手机号码、逃单笔数、逃单金额、操作组成。通过查询条件进行筛查逃单信息查找。

3.操作:查看详情

查看详情:点击查询结果右侧的“查看详情”按钮可以跳转到订单中心的逃单订单查看该车牌号车主的逃单详情。

4.导出:可通过点击查询内容左下方的“导出”按钮来下载当前查找条件下的所有逃单信息。

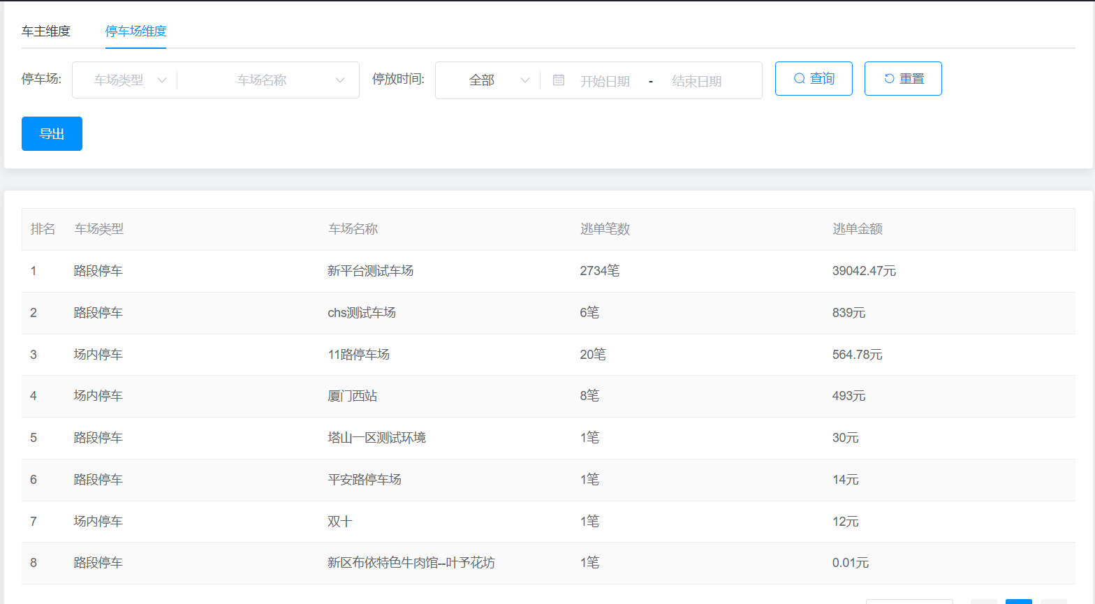
停车场维度

1.查询内容:

停车场:可通过选择车场类型和车场名单进行停车场逃单信息筛查;

停放时间:可通过选择停放时间段进行逃单订单筛查。

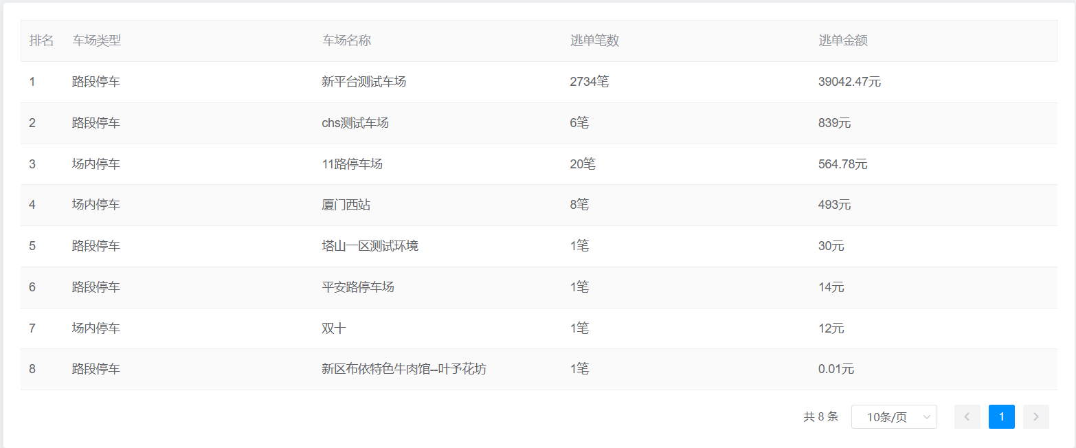
2.查询结果:该查询结果由排名、车场类型、车场名称、逃单金额组成。通过查询条件进行筛查逃单信息查找。

3.导出:可通过点击查询内容左下方的“导出”按钮来下载当前查找条件下的所有逃单信息。