指挥中心

三、补单订单

可以在补单订单上查询、筛选到所有订单补录历史详情。

1.查询内容:

订单号/车牌号:通过搜索订单号/车牌号查找补单订单信息;

订单状态:可分为计费中、已逃单、已销单、已支付、已完结,可通过选择其中任一状态进行补单订单信息筛查;

支付方式:可分为微信支付、支付宝支付、支付宝代扣、贵州银行聚合支付、贵州银行快捷支付、贵州银行无感支付,可通过选择其中任一状态进行补单订单信息筛查;

停车场:可通过选择车场类型和车场名称进行补单订单筛查;

停放时间段:可通过选择停放时间段进行补单订单筛查。

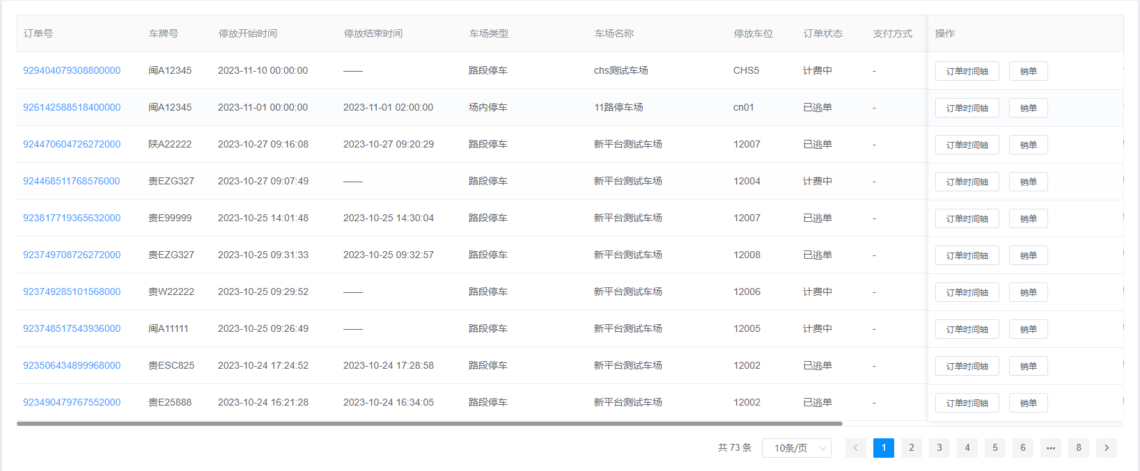
2.查询结果:该查询结果由订单号、车牌号、停放开始时间、停放结束时间、车场类型、车场名称、停放车位、订单状态、支付方式、操作组成。通过查询条件进行筛查补单订单信息查找。

3.操作:订单时间轴、销单

订单时间轴:点击查询结果右侧的“订单时间轴”按钮可查看该补单订单的订单详细信息。

销单:点击查询结果右侧的“销单”按钮可以选择销单原因并编辑销单备注删除该补单订单。

4.导出:可通过点击查询内容左下方的“导出”按钮来下载当前查找条件下的所有补单订单信息。