指挥中心

一、库存管理

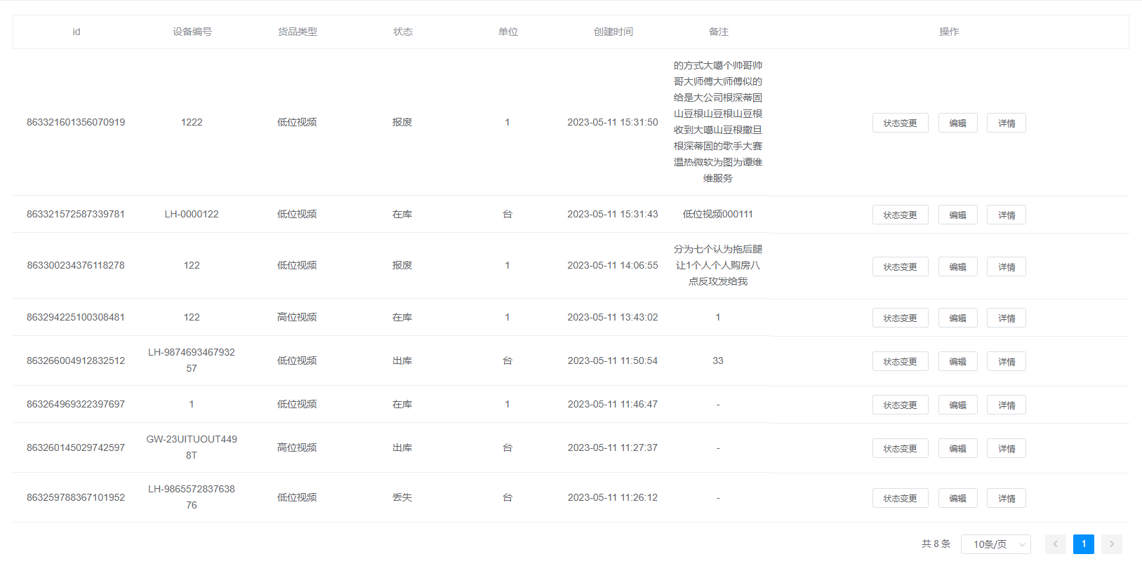
可以在库存管理上查询、筛选编辑到所有在库设备信息。

1.查询内容:

设备编号/名称:通过搜索设备编号/名称查找在库设备信息;

货品类型:可通过选择其中任一状态进行在库设备信息筛查;

状态:可分为在库、丢失、借调、报废、出库,可通过选择其中任一状态进行在库设备信息筛查;

时间:可通过选择时间段进行在库设备信息筛查。

2.数据统计概况:该数据统计分别为在库、报废、借调。

3.查询结果:该查询结果由id、设备编号、货品类型、状态、单位、创建时间、备注、操作组成。通过查询条件进行筛查在库设备信息查找。

4.操作:状态变更、编辑、详情

状态变更:点击查询结果右侧的“状态变更”按钮可以重新选择该设备状态以及填写备注。

编辑:点击查询结果右侧的“编辑”按钮可以编辑该设备货品类型、设备编号、备注。

详情:点击查询结果右侧的“详情”按钮可以查看该设备状态时间轴。

5.批量入库:点击查询内容的“批量入库”按钮即可上传文件库存批量入库。

6.导出:可通过点击查询内容的“导出”按钮来下载当前查找条件下的所有设备信息。

7.入库登记:点击查询内容的“入库登记”按钮即可填写信息进行设备入库登记。

8.出库登记:点击查询内容的“出库登记”按钮即可填写信息进行设备出库登记。