指挥中心

三、推送日志

可以在推送日志上查询、筛选到PDA推送日志、公众号推送日志历史详情。

PDA推送日志

1.查询内容:

订单ID:通过搜索订单ID查找PDA推送日志信息;

推送类型:可分为车牌置信度、订单待确认、地磁设备15分钟未录入车牌、地磁设备30分钟未录入车牌、视频15分钟未贴条、视频30分钟未贴条,可通过选择其中任一状态进行PDA推送日志信息筛查;

推送目标:可通过选择推送目标工作人员进行PDA推送日志信息筛查;

推送时间段:可通过选择推送时间段进行PDA推送日志信息筛查。

2.查询结果:该查询结果由订单ID、推送类型、推送内容、推送目标、推送时间组成。通过查询条件进行筛查PDA推送日志信息查找。

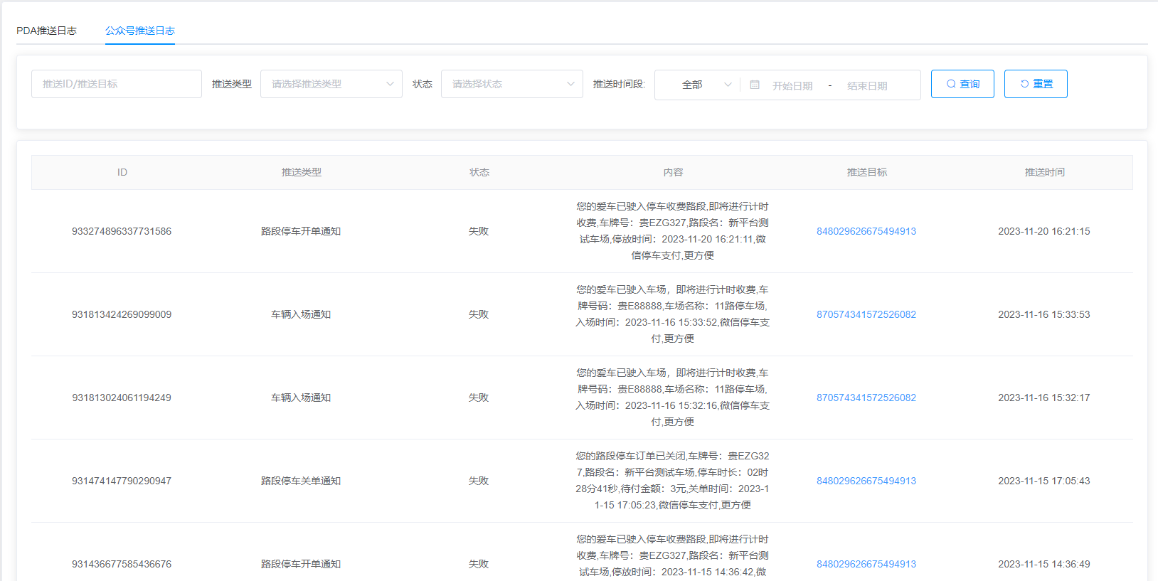
公众号推送日志

1.查询内容:

推送ID/推送目标:通过搜索订单ID查找公众号推送日志信息;

推送类型:可分为车辆入场通知、缴费成功通知、车辆离场提醒、路段停车开单通知、路段停车关单通知、逃单缴费通知、累计欠费补缴通知、套餐到期提醒、发票开具成功通知,可通过选择其中任一状态进行公众号推送日志信息筛查;

状态:可分为成功、失败,可通过选择其中任一状态进行公众号推送日志信息筛查;

推送时间段:可通过选择推送时间段进行公众号推送日志信息筛查。

2.查询结果:该查询结果由ID、推送类型、状态、内容、推送目标、推送时间组成。通过查询条件进行筛查公众号推送日志信息查找。