指挥中心

八、巡检工单

可以在巡检工单上查询、筛选到所有车场巡检详情,也可审核车场巡检结果。

数据统计概况:该数据统计分别为工单总数、待处理、已处理、通过、未通过。

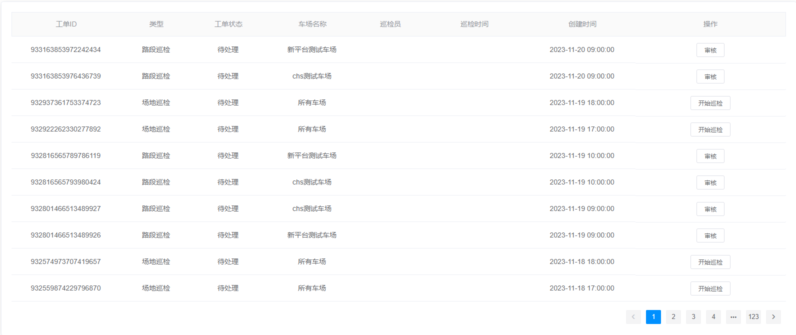
待处理

1.查询内容:

工单ID:通过搜索工单ID查找待处理巡检工单信息;

类型:可分为路段巡检、车场巡检、场地巡检,可通过选择其中任一状态进行待处理巡检工单信息筛查;

工单状态:可分为待处理、待审核,可通过选择其中任一状态进行待处理巡检工单信息筛查;

巡检员:可通过选择巡检员进行待处理巡检工单筛查;

创建时间:可通过选择创建时间段进行待处理巡检工单筛查。

2.查询结果:该查询结果由工单ID、类型、工单状态、车场名称、巡检员、巡检时间、创建时间、操作组成。通过查询条件进行筛查待处理巡检工单信息查找。

3.操作:审核、开始巡检

审核:点击查询结果路段巡检右侧的“审核”按钮可以填写审核备注以及上传举证图片并进行审核。

开始巡检:点击查询结果车场巡检、场地巡检右侧的“开始巡检”按钮可以选择巡检结果,填写备注以及上传举证图片。

4.工单规则:点击查询内容左下角的“工单规则”按钮即可选择巡检场地进行设置巡检规则。

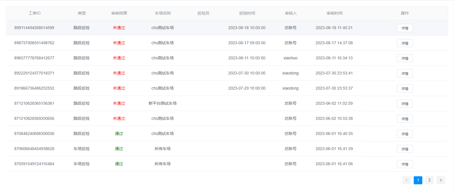
已处理

1.查询内容:

工单ID:通过搜索工单ID查找已处理巡检工单信息;

类型:可分为路段巡检、车场巡检、场地巡检,可通过选择其中任一状态进行已处理巡检工单信息筛查;

巡检员:可通过选择巡检员进行已处理巡检工单筛查;

审核人:可通过选择审核人进行已处理巡检工单筛查;

审核结果:可分为通过、未通过,可通过选择其中任一状态进行已处理巡检工单信息筛查;

审核时间:可通过选择审核时间段进行已处理巡检工单筛查;

2.查询结果:该查询结果由工单ID、类型、审核结果、车场名称、巡检员、巡检时间、审核人、审核时间、操作组成。通过查询条件进行筛查已处理巡检工单信息查找。

3.操作:详情

详情:点击查询结果右侧的“详情”按钮可以查看该巡检工单详情。