指挥中心

六、催付设置

可以在催付设置上查询、筛选、新建、编辑对欠费未缴车主的催缴设置。

1.新建:点击查询内容右侧的“新建”按钮即可填写任务名称、催付日期、催付渠道、欠费金额、停放时间段等信息进行新增催缴任务。

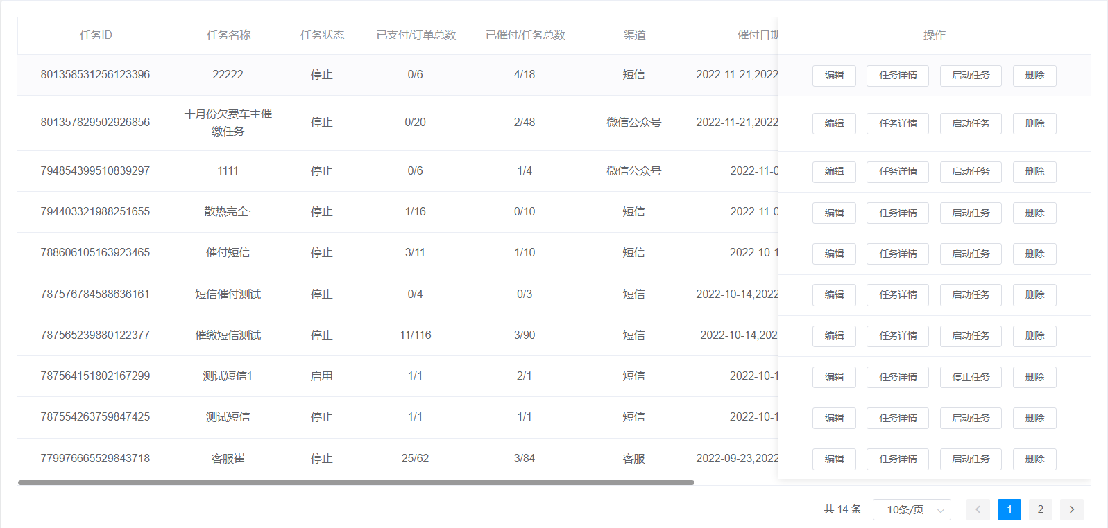
2.查询内容:

任务名称/任务ID:通过搜索任务名称/任务ID查找催缴任务信息;

状态:可分为启用、停止,可通过选择其中任一状态进行催缴任务信息筛查;

负责人:可通过选择任务负责人进行催缴任务信息筛查。

3.查询结果:该查询结果由任务ID、任务名称、任务状态、已支付/订单总数、已催付/任务总数、渠道、催付日期、任务次数、催付时间、负责人、创建人、创建时间、操作(编辑、任务详情、启动/停止任务、删除)组成。通过查询条件进行筛查催缴任务信息查找。

4.操作:编辑、任务详情、启动/停止任务、删除

编辑:点击查询结果右侧的“编辑”按钮即可重新编辑该催付任务的任务名称、催付日期、催付时间、催付渠道、负责人。

任务详情:点击查询结果右侧的“任务详情”按钮即可进入该催付任务的详情页。(不同渠道进入不同的任务详情页面)

任务详情页面

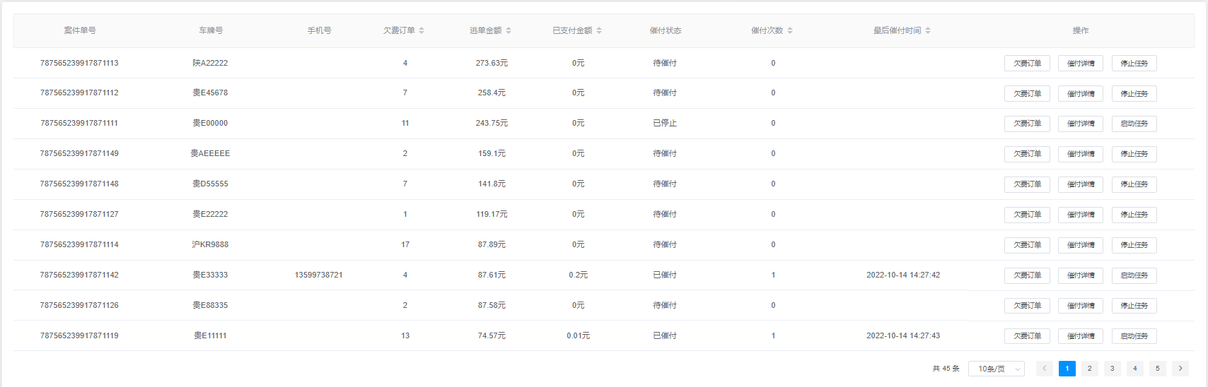
1.查询内容:

案件单号/车牌号/手机号:通过搜索案件单号/车牌号/手机号查找催缴任务信息;

催付状态:可分为待催付、已催付、已完结、无对象、已停止,可通过选择其中任一状态进行任务详情信息筛查;

最后催付时间:可通过选择最后任务催付时间段进行催缴任务信息筛查。

2.数据统计概况:该数据统计分别为车牌、欠费订单、待缴金额、已支付订单、已支付金额、任务总数、已催付次数、今日催付次数。

3.查询结果由案件单号、车牌号、手机号、逃单金额、已支付金额、催付状态、催付次数、最后催付时间、操作(欠费订单、催付详情、启动/停止任务)组成;

4.操作:欠费订单、催付详情、启动/停止任务

欠费订单:点击查询结果右侧的“欠费订单”按钮即可进入该车牌号欠费订单详情页面。

欠费订单详情页面

1.查询内容:

订单状态:可分为已逃单、已销单、已支付、已完结,可通过选择其中任一状态进行该车牌欠费详情信息筛查;

停放时间段:可通过选择最后停放时间段进行欠费信息筛查。

2.查询结果由订单号、车牌号、停放开始时间、停放结束时间、停放金额、订单状态、车场类型、车场名称、已支付金额、订单类型、操作(订单时间轴)组成;

4.操作:订单时间轴

订单时间轴:点击查询结果右侧的“订单时间轴”按钮即可查看该车牌该次订单时间轴。

---(欠费详情页面)

催付详情:点击查询结果右侧的“催付详情”按钮即可进入该车牌号催付详情页面。

催付详情页面

1.查询内容:

催付渠道:可分为微信公众号、短信、客服,可通过选择其中任一状态进行催付详情信息筛查;

催付时间:可通过选择催付时间段进行催付任务信息筛查。

.查询结果由单号、催付渠道、接收对象、状态、内容、时间、发送人组成;

---(催付详情页面)

启动/停止任务:点击查询结果右侧的“启动/停止任务”按钮选择是否启动任务,处于启动的催付任务会根据任务设置对欠费车主进行催缴提示。

6.导出:点击查询内容右侧的“导出”按钮即可导出该任务详情页信息。

---(任务详情页面)

启动/停止任务:点击查询结果右侧的“启动/停止任务”按钮选择是否启动任务,处于启动的催付任务会根据任务设置对欠费车主进行催缴提示。

删除:点击查询结果右侧的“删除”按钮即可删除该催缴任务。