六、短信日志
可以在短信日志上查询、筛选到所有短信推送信息。
1.查询内容:
推送ID/推送目标:通过搜索推送ID/推送目标查找短信推送信息;
推送类型:可分为验证码、营销短信、催缴短信、欠费车辆入场、设备维修、告警通知,可通过选择其中任一状态进行短信推送信息筛查;
推送时间段:可通过选择推送时间段进行短信推送信息筛查。
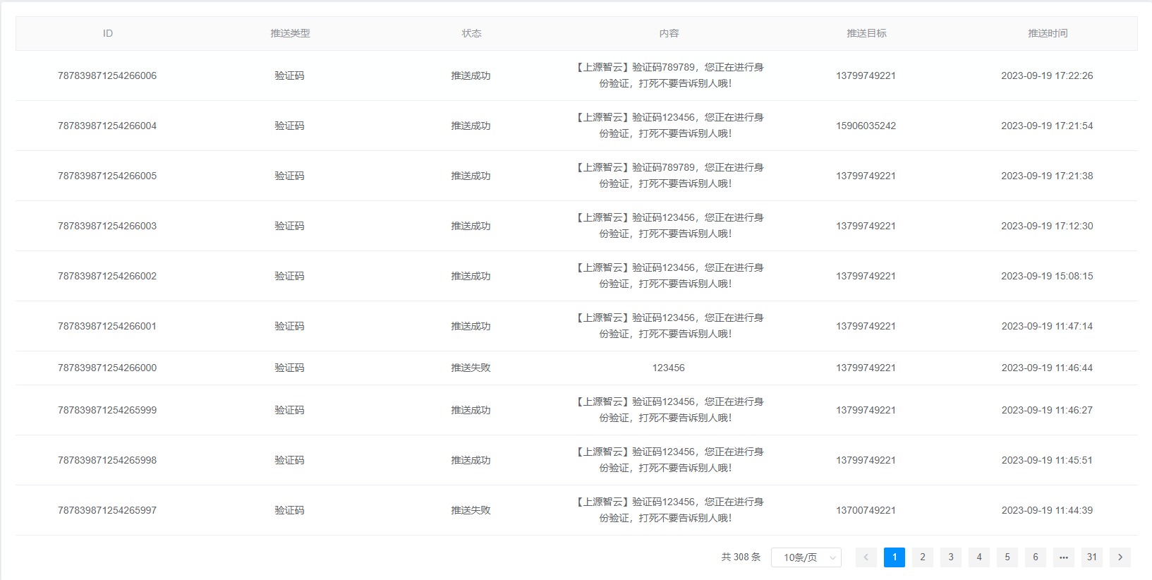
2.查询结果:该查询结果由ID、推送类型、状态、内容、推送目标、推送时间组成。通过查询条件进行筛查短信推送信息查找。
可以在短信日志上查询、筛选到所有短信推送信息。
1.查询内容:
推送ID/推送目标:通过搜索推送ID/推送目标查找短信推送信息;
推送类型:可分为验证码、营销短信、催缴短信、欠费车辆入场、设备维修、告警通知,可通过选择其中任一状态进行短信推送信息筛查;
推送时间段:可通过选择推送时间段进行短信推送信息筛查。
2.查询结果:该查询结果由ID、推送类型、状态、内容、推送目标、推送时间组成。通过查询条件进行筛查短信推送信息查找。