指挥中心

一、催付工单

可以在催付工单上查询、筛选、审核到所有催付工单历史详情。

数据统计概况:该数据统计分别为工单总数、待处理、催缴成功、催缴失败、超时未处理、已停止。

全部

1.催缴规则:

可通过点击查询内容左下方的“催缴规则”按钮来查看当前所有催缴规则,其中催缴规则由ID、名称、状态、逃单金额、逃单笔数、奖励规则、生效时间、创建人、创建时间、操作组成;

在催缴规则左上角点击“新建”即可填写催缴名称、逃费金额、逃单笔数、生效时间新增催缴规则;

在催缴规则右侧点击“删除”即可确定是否执行规则删除操作。

2.新增:点击查询内容左下方的“新增”按钮即可选择工单状态,填写车牌号和接单人新增催缴工单。

3.查询内容:

工单ID/车牌号:通过搜索工单ID/车牌号查找催付工单信息;

工单状态:可分为待分配、待处理、已提交、待审核、催缴成功、催缴失败、超时未处理、已停止,可通过选择其中任一状态进行催付工单信息筛查;

接单人:可通过选择接单人进行催付工单信息筛查;

停放时间段:可通过选择停放时间段进行催付工单信息筛查。

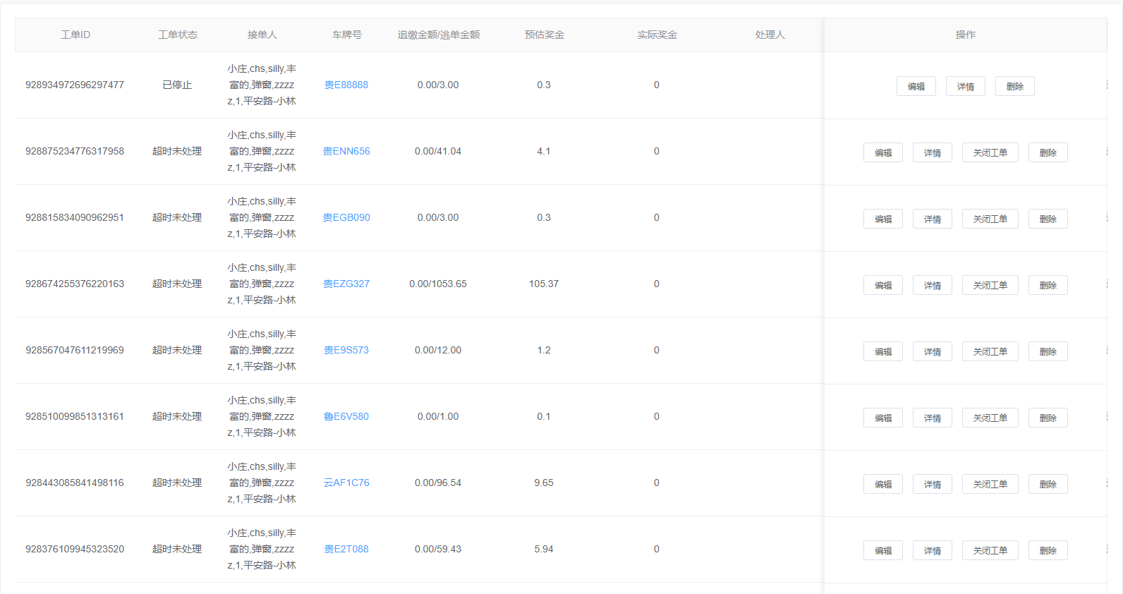
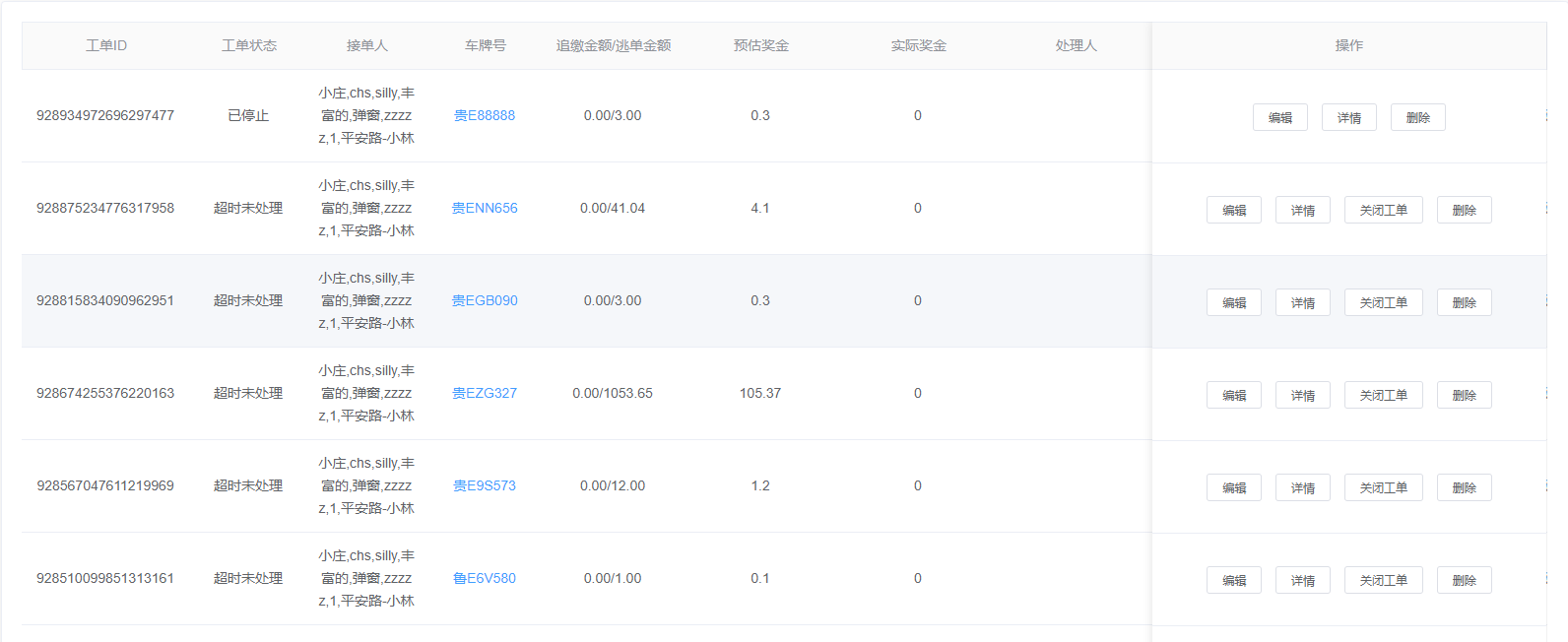
4.查询结果:该查询结果由工单ID、工单状态、接单人、车牌号、追缴金额/逃单金额、预估奖金、实际奖金、处理人、处理时间、处理耗时、创建人、创建时间、操作组成。通过查询条件进行筛查催付工单信息查找。

5.操作:编辑、详情、关闭工单、删除

编辑:点击查询结果右侧的“编辑”按钮可以编辑该催付工单的车牌号、接单人。

详情:点击查询结果右侧的“详情”按钮可以查看该催付工单的催缴工单详情页。在车主信息表的右上角点击画笔即可编辑车主手机号和车架号。

关闭工单:点击查询结果右侧的“关闭工单”按钮可以关闭该催缴工单。

删除:点击查询结果右侧的“删除”按钮可以确定是否执行工单删除操作。

审核

1.查询内容:

工单ID/车牌号:通过搜索工单ID/车牌号查找催付工单信息;

工单状态:可分为待分配、待处理、已提交、待审核、催缴成功、催缴失败、超时未处理、已停止,可通过选择其中任一状态进行催付工单信息筛查;

接单人:可通过选择接单人进行催付工单信息筛查;

停放时间段:可通过选择停放时间段进行催付工单信息筛查;

2.查询结果:该查询结果由工单ID、工单状态、接单人、车牌号、追缴金额/逃单金额、预估奖金、实际奖金、处理人、处理时间、处理耗时、创建人、创建时间、操作组成。通过查询条件进行筛查催付工单信息查找。

3.操作:审核、详情、删除

审核:点击查询结果右侧的“审核”按钮可以查看该催付工单的催缴工单详情页。在车主信息表的右上角点击画笔即可编辑车主手机号和车架号。在详情页底下可填写催缴结果、原始奖金、收费员奖金、客服、客服奖金、审核意见、客服催缴、上传取证图片进行审核。

详情:点击查询结果右侧的“详情”按钮可以查看该催付工单的催缴工单详情页。在车主信息表的右上角点击画笔即可编辑车主手机号和车架号。在详情页底下可填写催缴结果、原始奖金、收费员奖金、客服、客服奖金、审核意见、客服催缴、上传取证图片进行审核。

删除:点击查询结果右侧的“删除”按钮可以确定是否执行工单删除操作。

4.新增:点击查询内容左下方的“新增”按钮即可选择工单状态,填写车牌号和接单人新增催缴工单。

5.催缴规则:

可通过点击查询内容左下方的“催缴规则”按钮来查看当前所有催缴规则,其中催缴规则由ID、名称、状态、逃单金额、逃单笔数、奖励规则、生效时间、创建人、创建时间、操作组成;

在催缴规则左上角点击“新建”即可填写催缴名称、逃费金额、逃单笔数、生效时间新增催缴规则;

在催缴规则右侧点击“删除”即可确定是否执行规则删除操作。