指挥中心

二、商家券使用明细

可以在商家券使用明细上查询、筛选到所有商家券历史使用详情。

1.查询内容:

订单号/车牌号/泊位号:通过搜索订单号/车牌号/泊位号查找商家券使用明细信息;

订单状态:可分为计费中、已逃单、已销单、已支付、已完结,可通过选择其中任一状态进行商家券使用明细信息筛查;

商家名称:可通过选择商家进行商家券使用明细筛查;

优惠券:可通过选择优惠券进行商家券使用明细筛查;

停车场:可通过选择车场类型和车场名称进行商家券使用明细筛查;

停放时间段:可通过选择停放时间段进行商家券使用明细筛查。

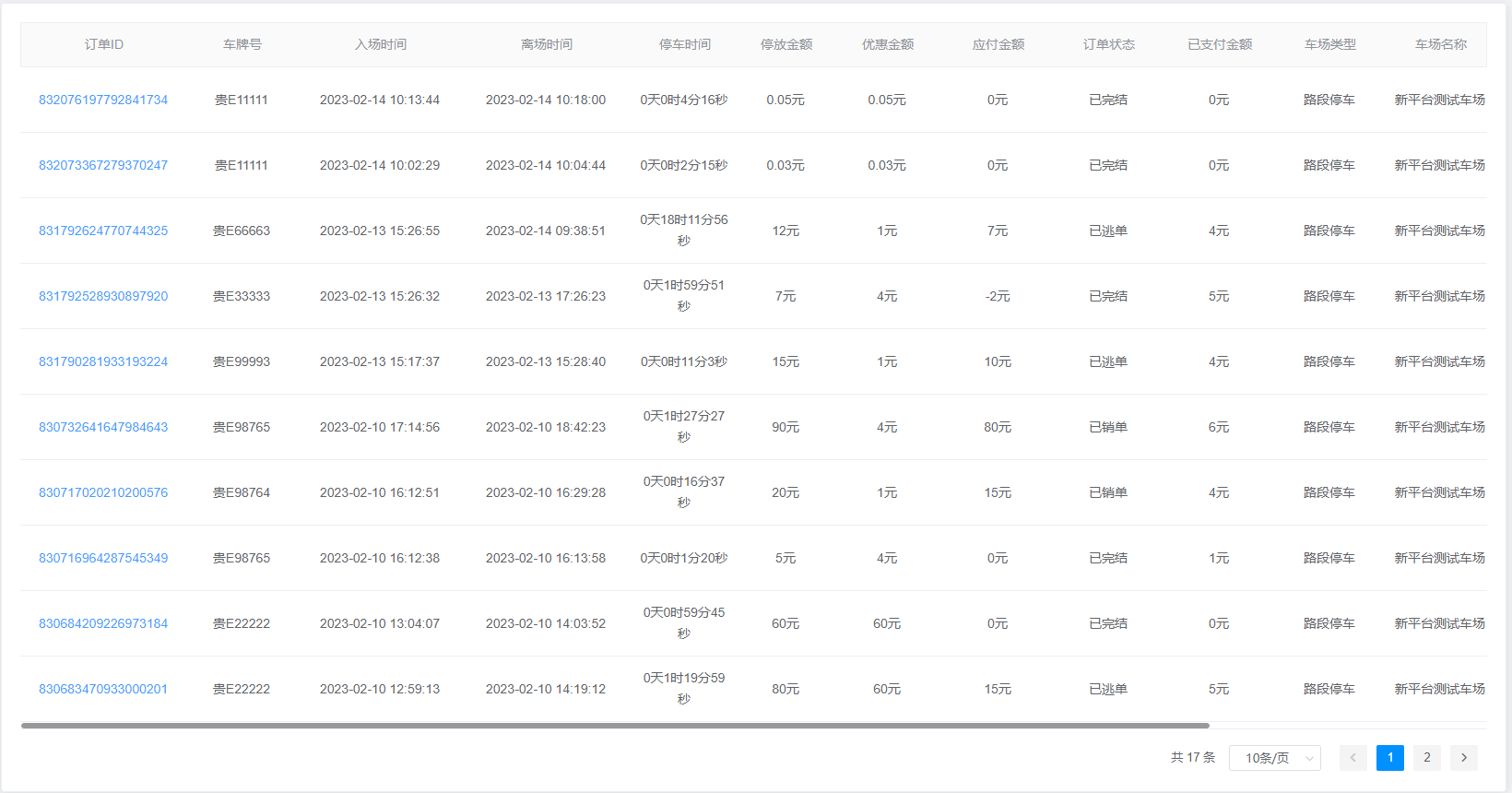
2.查询结果:该查询结果由订单ID、车牌号、入场时间、离场时间、停车时间、停放金额、优惠金额、应付金额、订单状态、已支付金额、车场类型、车场名称组成。通过查询条件进行筛查商家券使用明细信息查找。

3.导出:可通过点击查询内容的“导出”按钮来下载当前查找条件下的所有商家券使用明细信息。