指挥中心

四、考勤查询

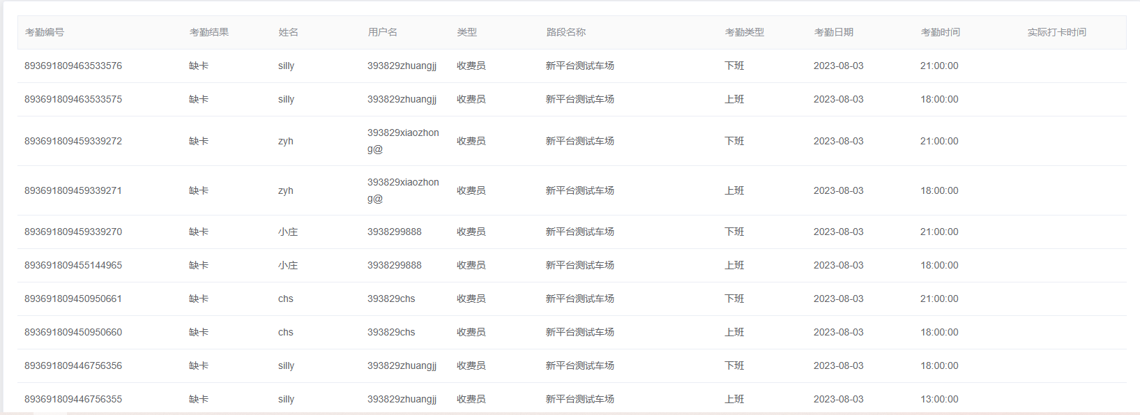
可以在考勤查询上查询、筛选到所有收费员考勤记录详情。

1.查询内容:

姓名/用户名:可通过输入完整的人员姓名或用户名查找人员考勤信息;

路段名称:可通过选择路段名称进行查找该路段负责人员考勤信息;

考勤类型:可分为全部、上班、下班,可通过选择其中任一类型进行人员考勤信息筛查;

考勤结果:可分为全部、正常、迟到、早退、缺卡,可通过选择其中任一类型进行人员考勤信息筛查;

考勤日期:可通过选择考勤的开始日期和结束日期进行人员考勤信息查找。

2.查询结果:该查询结果由考勤编号、考勤结果、姓名、用户名、类型、路段名称、考勤类型、考勤日期、考勤时间、实际打卡时间组成。通过查询条件进行筛查人员考勤信息。

3.导出:查询栏左下方的“导出”按钮即可导出该查询状态下的所有人员考勤信息表。